请稍等 ...
×

采纳答案成功!

向帮助你的同学说点啥吧!感谢那些助人为乐的人

java.net.ConnectException: Connection refused: connect无法连接问题

图片描述
如图所示java.net.ConnectException
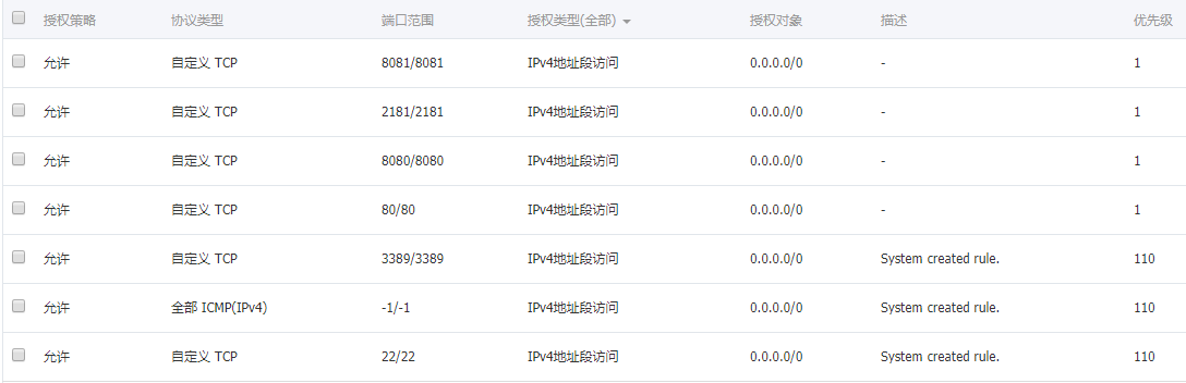
zookeeper安装在云服务器上,2181端口开了
图片描述
阿里云控制台报2181端口开启后有潜在高位安全组
图片描述
请问大佬这个问题应该怎么解决?是需要我的云服务器关闭防火墙吗?

正在回答 回答被采纳积分+3

1回答

风间影月 2019-02-09 22:22:12

云服务器开启端口,另外注意外网ip和内网ip,如果是本地应用,需要使用外网ip

0 回复 有任何疑惑可以回复我~
  • 提问者 哎哟你干嘛 #1
    大佬我填写的是外网IP啊。
    回复 有任何疑惑可以回复我~ 2019-02-09 23:07:03
  • 风间影月 回复 提问者 哎哟你干嘛 #2
    那么你的端口需要在安全组开放,如果zk安装没有问题的话,那么肯定可以链接的
    回复 有任何疑惑可以回复我~ 2019-02-09 23:38:49
问题已解决,确定采纳
还有疑问,暂不采纳
微信客服

购课补贴
联系客服咨询优惠详情

帮助反馈 APP下载

慕课网APP
您的移动学习伙伴

公众号

扫描二维码
关注慕课网微信公众号